邮箱 szobte@163.com   ☎ 电话:512-87772336 / 89573136

产品分类

loading

分享到:

CL-TR1 三维力传感器

三维力传感器
优质合金钢材质
安装简便
高度低 刚性好
适用于工业称重系统,机器人手过载保护测式设备等
  • CL-TR1

  • SZOBTE

  • CL-TR1

状态:
数量:

产品描述

CL-TR1三维力传感器

                                                         

产品特点


三维力传感器

优质合金钢材质

安装简便

高度低 刚性好

适用于工业称重系统,机器人手过载保护测式设备等


 

量程                                                      

0-100kg,200kg,300kg,500kg,1t,2t,3t

技术参数  

 

额定输出

1.0mV/V±1%

零点平衡

额定输出的±1%

蠕变

额定输出的±0.05

非线性

额定输出的±0.05

滞后

额定输出的±0.05

重复性

额定输出的±0.05

灵敏度温漂

小于等于应用输出的0.003%/

零点温漂

小于等于额定输出的0.003%/

可用温度范围

-10至+70

温度补偿范围

-10至+40

安全载荷

150%

输入阻抗

387Ω±20Ω

输出阻抗

350Ω±5Ω

绝缘阻抗

大于等于5000MΩ(50V DC)

推荐激励电压

5V DC/AC

最 大工作电压

10V DC/AC

防护等级

IP65

电线

2m

型号

  CL-TR1/100kg

导线颜色

红色(E+)黑色(E-)绿色(S+)白色(S-

 






图片102

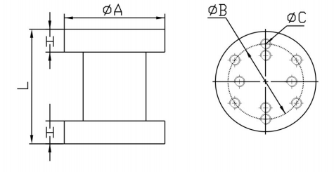
产品尺寸













尺寸(毫米)

CAP(吨)

ΦA

ΦB

ΦC

L

H

X,Y

Z轴

96

80

6〜Φ9

100

22

0.1〜1吨

0.2t〜2吨

1.5〜3吨

3〜6吨

135

108

8〜Φ13

135

30



受力示意图

图片103

注意:此信息仅供参考。具体以实物为准


上一条: 
下一条: 
+ 86-512-87772336
+ 86-512-89573136
 吴江区东太湖
 大道11666号 

快速链接

产品展示

版权所有 2020 SZOBTE    苏ICP备14015459号-1 技术支持